Apple ha presentado varias solicitudes de patente que cubren las innovaciones en tecnología de baterías. Si se comercializan, ayudarán a mejorar la autonomía de los dispositivos móviles y reducirán el riesgo de explosión de la batería.
Apple quiere mejorar su batería
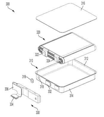
Una patente llamada Metal Can Battery describe una solución que reduce la distancia entre la batería y los componentes de un dispositivo electrónico. El sistema descrito en la patente permite colocar una batería más grande dentro de un dispositivo electrónico sin aumentar el tamaño del dispositivo en sí. Ahora, dentro de un teléfono inteligente u otro dispositivo con batería, se debe diseñar un espacio vacío no utilizado, ya que los componentes pueden corroerse o sufrir otros daños si el contenedor de la batería los toca. Apple sugiere rodear la batería con un estuche rígido o semirrígido. Una carcasa de este tipo puede estar muy cerca de los componentes electrónicos sin dañarlos.

La segunda patente describe métodos para detectar y controlar la expansión de la batería. La aplicación trata sobre un método que ayuda a determinar cuándo la expansión de una batería recargable excede un cierto umbral. Si la carga de la batería excede una cantidad predeterminada, el detector de expansión transmitirá esta información al «procesador apropiado». Él, a su vez, realizará cambios en el esquema del dispositivo para cargar la batería ampliada a una velocidad más baja y utilizando un voltaje reducido. Esto reducirá el riesgo potencial de que la batería se hinche y también reducirá el riesgo de explosión de la batería.
Fuente: phonearena
Nuestras redes sociales
¿Qué opinas sobre la noticia?, recuerda que puedes dejarnos tus impresiones sobre la misma en la cajita de comentarios justo debajo del artículo. Nos encanta ver vuestros puntos de vista y analizar los datos que publicamos con todos vosotros. ¡Así que no seáis tímidos y participad donde os hemos señalado!
Sin más, te agradecemos que nos hayas visitado, no sin antes desearte un feliz día y pedirte que nos sigas tanto en nuestras redes sociales como Twitter o Facebook.
Recuerda seguir visitándonos en Planetared para estar informado sobre diversos temas. Desde componentes, curiosidades Geek, smartphones y todo lo relacionado al mundo de los bytes. Puedes utilizar la caja de comentarios.










