LG no figura entre las compañías más populares si de dispositivos móviles se trata, pero sí que nos ha dejado muy buenas sorpresas este año que ha pasado y su portafolio ha aumentado de manera considerable. De sus últimos éxitos podemos mencionar sin duda el LG Velvet, un móvil fresco y juvenil. Pues bien, en cuestión de nuevas tecnologías esta marca nos ha dejado sorpresas al dar a conocer su primer móvil plegable, el LG Wing. Y ahora, dentro de su proyecto experimental Explorer, la marca anuncia un futuro móvil plegable. Se trata del primer teléfono con pantalla enrollable de LG y ya ha sido anunciado en el CES 2021. Su nombre es LG Rollable, un móvil que por fin aparece en un vídeo oficial y permite ver varios detalles de diseño y algunas especificaciones.
Caracteristicas del LG Rollable
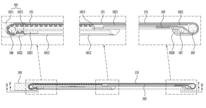
Todavía quedan muchos aspectos por conocer de las caracteristicas del LG Rollable. Se sabe que tendrá una pantalla de tipo OLED, flexible, de bordes rectos y una diagonal de 6,4 pulgadas en estado enrollado. Al desenrollarse esta diagonal aumenta hasta las 7,4 pulgadas. El móvil tendrá una estructura de aluminio. En cuanto al mecanismo plegable, como sabemos, LG ya había incursionado en el nuevo mercado de los móviles plegables con su LG Wing, aunque más que plegable este móvil tenía un mecanismo de giro para desplegar la segunda pantalla. Pues bien, esta vez se ha desarrollado una pantalla ampliable que se desenrolla según la necesidad del usuario, mediante un mecanismo automático al presionar un botón.
Lanzamiento y disponibilidad del LG Rollable
El móvil se espera para finales de este primer semestre del año, por lo que deberemos esperar unos cinco meses aún para el lanzamiento del LG Rollable. Es un móvil que se incluye dentro de los proyectos experimentales de la marca (proyecto Explorer) aunque sí se producirá para la venta. El se ha mostrado en el evento virtual CES 2021 de manera bastante parca, así que esperaremos a tener más detalles sobre el resto de sus especificaciones.

Conclusiones y opiniones
LG anuncia un futuro móvil plegable, o más bien desenrollable. Se trata del LG Rollable, un terminal que comenzará a venderse dentro de unos cinco meses, al final del primer semestre de este año 2021. El móvil fue anunciado en el CES 2021 virtual y varias de sus caracteristicas han sido develadas, especialmente en lo que a la pantalla se refiere y al mecanismo de despliegue de ésta. Falta mucho por conocer, en especial en lo que a la configuración interna y a las cámaras se refiere.
Página oficial de LG en España.












