Uno de los principales puntos débiles de PlayStation 4 es la falta de retrocompatibilidad nativa, algo que podría resolverse gracias a la incorporación de nuevo hardware que acaba de ser patentado por la empresa.
Esto es lo que indica una patente registrada recientemente por Sony, en la que la empresa describe la «retrocompatibilidad por emulación», lo que implicaría la posibilidad de volver a jugar juegos antiguos con gráficos «renovados».
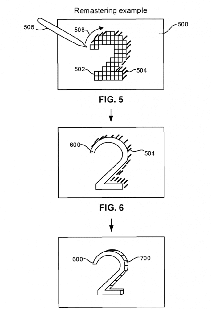
Patente de retrocompatibilidad en la PS5
Según el registro (concedido el 2 de octubre, pero registrado en noviembre de 2016), la tecnología permitiría «remasterizar» texturas de juegos antiguos y sustituirlas por recursos adaptados a resoluciones actuales.

Según describe el documento «..un artista remasteriza las texturas para su presentación en una pantalla con una resolución más alta que la planificada en el software original, y las almacena en la estructura de datos con sus identificadores».
Remasterización del audio
Mientras que la patente no describe qué juegos podrían aprovechar el recurso, ya hay quien cree que esta patente indicaría que la futura consola de Sony contará con retrocompatibilidad con todos los juegos de PlayStation anteriores.
Sony tendrá que hacer una verdadera conquista técnica, ya que la arquitectura de la PlayStation 3 es bastante compleja y ha sido un gran dolor de cabeza para quien ha deseado reproducirla fuera del hardware original.

El sistema patentado por la compañía también muestra que el audio de juegos antiguos puede ser «remasterizado inmediatamente», siendo que nuevas pistas podrán ser reemplazadas de la misma forma que las texturas.
Lo que no está claro es si las nuevas tecnologías van a quedar restringidas al lanzamiento de una nueva consola PlayStation o si esta tecnología podría usarse en la PlayStation 4 para acceder a la biblioteca de juegos de la PS2…
Como siempre pasa con el tema de las patentes tendremos que esperar un tiempo para ver en que desembocan…
Vía: Sony
Saludos desde lo más profundo de los bytes.












